网站关键词怎么查询百度排名及历史排名?想要做好优化就要了解关键词的排名情况,该怎么查看关几次在百度的现有排名以及历史排名?下面就让仿站小编带领我们来看看详细的教程,需要的朋友可以参考下
关键词排名是每个网站赖以生存的基础,尤其是百度排名,更被关注。一个关键词的排名情况,是网站优化工作者必须掌握的,要不然很难做好seo工作。了解了关键词历史排名情况,才会有相应网站优化方案,让关键词取得更好的排名。今天就分享一下,如何查询某个关键词的百度排名及历史排名。
1、首先在浏览器打开百度,搜索栏输入“关键词排名查询”,然后搜索。

2、在搜索结果中找到站长工具并打开。

3、打开以后,页面上有“百度关键词排名查询”和“百度关键词地区排名查询”两个搜索框。

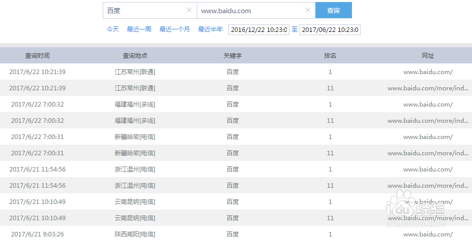
4、我们以“百度”这个关键词为例,查询百度这个网站在搜索引擎中的排名。

5、第一个搜索框,算是综合查询,结果是随机的地区排名。第二个搜索框,是地区排名查询,结果默认显示1到50名是否有排名,依次类推。


6、这个排名的结果并不是只查询的你输入的网站首页的排名,而是这个网址下所有参与排名的链接的排名。如图所示,最右侧有下拉按钮,点开可以看到全部有排名的网站链接。

7、在排名查询的结果页面上,有查看历史排名,点击打开,就可以看到某个关键词的历史排名。时间可以自定义。


很多需要仿的客户似乎都有这样一个信念,认为仿站就是抄站,理所当然很简单很容易,所以不管是大站,小站难 站易站在他们眼中,都是一个级别的,在这里...
1、普通型仿制型网站企业网站报价:什么上普通型建站呢?普通型建站指是只做展示公司资料及公司产品,没有什么视觉要求只是一般,这类网站叫普通型...
仿站是一种什么样的概念?仿站 顾名思意就是仿制别人的网站。为什么要仿别人的网站呢?因为如果不仿制,那么找网络公司设计一个网站,首先美工要把...
4G降临,移动网站已经一发不可收拾,pc端和移动端官网并存。如何让别人访问你的pc端的官网直接跳转到移动端的网站呢?各位看官,仿站网上代码!...
个人仿站基本各行业都会有,无非就是哪些类型仿的多,哪些类型仿的少而已。下面给大家介绍下一些常见的个人仿站类型。一、流量类站点,一般包括影...
首先你要对你要做的这个网站有一定的规划,然后就是对于网站的外形有哪些要求,这些你都是要提前考虑的,如果想要网站建设的快一些的吧,可以仿站,还...